侵犯隐私!别墅被侵占拍剧房主索赔300万 要求删除剧中镜头

日前,杭州一位林女士遭遇到了“自己家出现在电视剧中”的尴尬问题,随后发现自家别墅被擅自出租给剧组,家中多处物品遭到损坏。
据紫牛新闻报道,林女士已将别墅前后期的两个物业公司、开发商宁波相原和景房地产开发有限公司、电视剧出品方爱奇艺平台告上法庭。目前林女士的诉求有这几点,一是电视剧下架,或者将电视剧中涉及到其别墅的镜头删除;二是赔礼道歉;三是赔偿损失,目前预估为300万,包括财产损失和侵犯隐私权。
林女士(化名)的代理律师王勤保称,目前该案件已经在3月开庭,7月庭前会议,现进行到证据交换阶段。
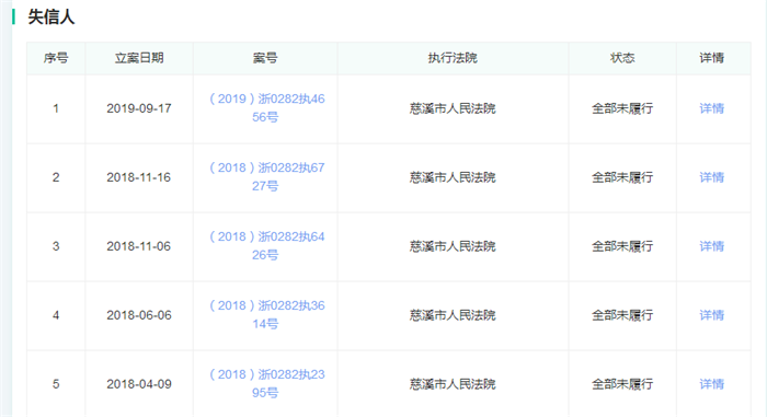
根据企查猫工商信息显示,宁波相原和景房地产开发有限公司成立于2012年9月19日,法人代表为高建立。该公司过去两年间曾被宁波慈溪法院5次判决为失信被执行人。


广告、内容合作请点这里:寻求合作
咨询·服务
